上海泓昀人工环境工程有限公司

PRODUCTS
产品展示

滤筒式脉冲除尘器是在引进欧美脉冲反吹技术基础上,结合我国工业生产情况研制开发的高效率除尘设备。 该系列除尘设备采用先进的PLC可编程序控制装置定时定量独立轮换自动喷吹清灰,确保清灰彻底,性能稳定,并且可以根据不同的粉尘介质选用不同的过滤材质,过滤精度从1um~5 um,排放浓度从10㎎/㎡~60㎎/㎡,确保符合国家环保排放要求。
1、 工作原理
在离心风机牵引力作用下,含尘气体由进风口吸入除尘器,并通过高效过滤筒,粉尘被高效过滤筒捕集粘附在滤筒表面,洁净空气则穿透高效滤筒经出风口排出,随着粘附在滤筒表面的粉尘增多,编程电子脉冲控制仪开始循环反复选择一个或多个滤筒进行自动清灰,清灰过程,脉冲控制仪将打开脉冲电磁阀,高压气流瞬间喷吹滤筒内壁,将粘附在滤筒表面的粉尘震落到收灰车,确保除尘系统始终持续处于最佳工作状态。
2、结构工艺
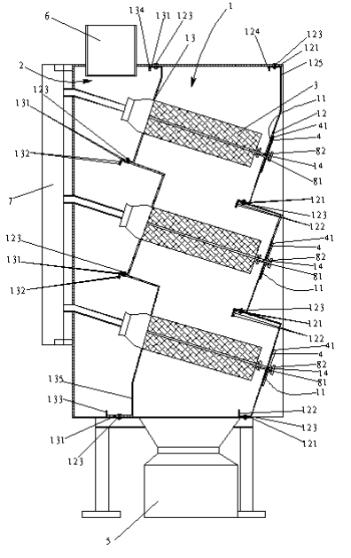
该系列除尘设备包括滤筒室(1)、干净室(2)及滤筒(3),滤筒室(1)与干净室(2)之间通过滤筒(3)连接,其特征在于:所述滤筒(3)以大于0°小于90°的角度从滤筒室(1)的侧面倾斜安装于滤筒室(1)内。本实用新型除尘器采用斜装的方案,其结合了竖装式和水平横装式的优点,滤筒从滤筒室侧面装入,不但方便省力,便于拆装及维护,而且其倾斜的角度也让积累的粉尘更易掉落;可见,本实用新型除尘器结合了滤筒水平横装及竖装式的优点,同时也避开了两者的不足,结构上显得更为合理;此外本实用新型除尘器机体的外壁和内壁均可采用拼装组合的分体式组装方案,如此采用统一规格的原件,就能很方便地自由组合及配置出不同规格、体积及功率的设备,利于提高设备的生产效率,也提高了设备适应范围,而且由于采用更小、更为规格化的散件拼装,在节省材料及人工成本的同时,其在设备运输、调配及装配等环节也会更为方便快捷,能更有效地进行表面喷涂处理,这样将有助于提高设备档次,此外,拼装方案还能更方便的进行拆装及维护,而进一步相互重合连接的板块组件之间由于采取前附加折边设计,加以密封垫片连接,更加强化了拼装板块之间的密封性及外观工艺,因此可见其优越性。侧板(12)与分隔板(13)属于滤筒前后固定板,在分隔板(13)朝向滤筒室(1)的一侧设置有相对垂直的固定杆(14),滤筒(3)套设在固定杆(14)上,并通过内手轮(81)朝分隔板(13)侧压紧固定;固定杆(14)端部伸出对应的安装口(11),端盖(4)套置在固定杆(14)端部,并通过外手轮(82)锁紧以密封住安装口(11),端盖(4)与安装口(11)之间设置有密封圈(41)。

3、日常维护
⑴ 压缩空气管路:a、检查有无漏气的地方;b、定期排空储气罐及气源内的水分; c、检查压力表的指示值,保证压力表值为6.5~7.0kg/cm2,偏差正负1%左右; ⑵ 排灰装置 a、检查其转动方向是否正确 b、定期检查叶片是否漏气c、定期检查并清理收灰斗;⑶主排风机:a、保证正确的转速;b、保证合适的电流;c、保证进风管路畅通;d、保证轴承的温度及添加润滑。
4、故障原因及排除
|
故障现象 |
故障原因 |
解决方案 |
|
风机排风口粉尘浓度增大 |
1、滤筒室与干净室密封不严 |
1、检查密封处,补焊 |
|
2、滤筒破损 |
2、更换滤筒 |
|
|
风量不足 |
1、除尘器选型太小 |
1、调整型号至满足使用要求 |
|
2、滤筒堵塞 |
2、检查粉尘特性、反吹情况 |
|
|
3、管道内积尘 |
3、清理积尘 |
|
|
4、风机负压不足 |
4、更换合适的风机型号 |
|
|
滤筒堵塞 |
1、电磁阀失效 |
1、检修或更换电磁阀 |
|
2、滤材选择不当 |
2、选择符合工况的滤材 |
|
|
清灰失效 |
1、电磁阀不工作 |
1、对症解决 |
|
2、脉冲阀漏气 |
2、更换电磁阀 |
|
|
3、喷嘴与滤筒口位置误差大 |
3、调整喷吹孔位置 |
|
|
4、空压机气量小,气压不足 |
4、加大空压机功率 |
|
|
5、气路阻塞或漏气 |
5、检查气路 |
|
|
管道内积尘 |
1、管道风速太小 |
1、调小管道直径或加大抽风量 |
|
2、粉尘湿度大或质量大 |
2、倾斜布置管路 |
|
|
3、集尘罩设计不合理 |
3、从新合理设计集尘罩 |
© 上海泓昀人工环境工程有限公司
地址:上海市-奉贤区-柘林镇-新寺社区-南电路4号(西门)上海环保产业基地
邮箱:admin@ionfall.com
手机:18221715813 / 13167066512
友情链接:上海志钊